|
一种双工作台龙门加工
是现代工业中常用的一种零件加工设备,有一类机床,其加工装置竖向设置,通常在龙门架上设置二条导轨以连接加工装置,二条导轨位于同一竖直面并且导轨的端面为竖向,采用这种结构承重能力差,导轨长期承受加工装置的重量,容易变形导致加工装置移位,影响加工精度。
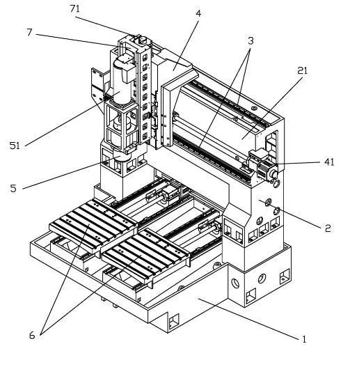
双工作台龙门加工中心底座1、安装在底座1上的龙门架2以及用于装载工件的工作台6,优选的,所述工作台6设置有二个并且并排布置,二个并排的工作台6可以在一个装载工件进行加工时,对另一个加工台6上的工件实施装卸,因而减少因工件装卸而带来的停机时间,实现连续加工,提高加工效率,降低加工成本;另外一方面,可以在两个加工台6上装置不同的工装夹具,实现加工不同规格的工件,从而避免因加工不同规格的工件而频繁更换工装夹具所带来的停机时间长的问题,
提高加工效率,降低加工成本。龙门架2上设置有二条导轨3,其中一条导轨3设置在龙门架2的上端面并且端面位于水平面,另一条导轨3设置在龙门架2的侧面并且端面位于竖直面,二条导轨3布置在一斜面上,龙门架2上端设置有横梁21,横梁21铸造成型,横梁21设置有二条用于安装导轨3的条形槽;二条导轨3上连接有沿其滑动的滑座4,滑座4连接有驱动其滑动的滑座驱动装置41,滑座驱动装置41为伺服电机并且通过丝杆、滑块驱动滑座4,优选的,滑座4的前端面设置有竖向的滑轨,滑轨上连接有竖向滑架7,滑座4上端连接有用于驱动竖向滑架7移动的第二驱动装置71,第二驱动装置71为伺服电机并且通过丝杆、滑块驱动竖向滑架7,竖向滑架7上安装有可上下移动的加工装置5以及用于驱动加工装置5转动的第一驱动装置51。采用上述结构,二条导轨3布置在一斜面上,一条设置在龙门架2的上端面并且端面位于水平面,另一条设置在龙门架2的侧面并且端面位于竖直面,在承载滑座4、竖向滑架7以及加工装置5时,导轨3可将部分的力传递给横梁21,减轻了导轨3的受力,有利于导轨3保持刚性,避免变形,提高加工装置5的运行稳定性,最终提高加工质量。 效果是二条导轨布置在一斜面上,一条导轨设置在龙门架的上端面并且端面位于水平面,另一条导轨设置在龙门架的侧面并且端面位于竖直面,在支撑滑座、加工装置时可将受力部分转移给龙门架,减轻导轨的受力,尤其是侧面受力,减少导轨变形,保证加工装置运行稳定,有助于保障加工精度,提高产品质量。 |
|
|


