|
数控机床技术:双工作台立式加工中心设计
在具有旋转形托盘交换装置的加工中心,托盘交换装置包括配置在圆周上的带有轴承托盘保持台以及使托盘旋转的驱动轴。请关注微 机械公社圈 通过旋转轴,驱动托盘使其在轴承上旋转,从而交换所述托盘。即、由轴承承受包括工件(work)在内的托盘的负荷,因此可将托盘交换装置的旋转驱动力抑制在较小水平
另外,在上述驱动轴的上部的部件上设有分隔套,用于分开机械加工侧的空间和工件交换侧的空间。在交换托盘时,分隔套与驱动轴一起反转180度时,其表面和背面被反过来。托盘交换装置中将分隔套与驱动轴一体设置,完全没有考虑到操作者穿过分隔套来进行作业。在Z轴方向移动自如地设置工作台的横向式加工中心的托盘交换装置。
托盘交换装置由通过驱动源驱动的旋转轴和包括与旋转轴连接且以旋转轴为中心点对称状形成的一对臂的旋转单元构成。旋转轴、即臂的旋转中心相对于工作台的中心线向X轴方向偏移配置。由于具有这样的结构,能够靠近工作台配置设在机械侧的操作门,并且,可以缩短机械的Z轴方向的长度。托盘交换装置的旋转轴相对于工作台的中心线向X轴方向偏移配置,但是,该适用于横向式加工中心,其前提是操作者只能从设有操作门的机械设备的侧面接近机械设备。
为了闭塞加工室空间,在以托盘交换装置的旋转中心为中心的点对称位置设置一对屏风,则缩小加工室空间,并且缩小碎屑飞散范围,这是以方便收集碎屑为目的,完全没有考虑到操作者从准备侧接近机械设备内部的事情。通过操作盘的移动操作命令用开关的操作,利用汽缸解除将托盘交换装置固定在车床上的定位销,将托盘交换装置连接于座架上,通过移动座架,使托盘交换装置沿设在车床前面的导轨移动到退避位置。
从而,在工作机械设备的前面形成操作者可接近的空间,操作者位于该空间对安装在主轴上的工具等进行操作。需要设置退避托盘交换装置本身的空间区域,因此,作为工作机械设备整体,存在左右方向大型化的问题。并且,需要设置用于退避座架和托盘交换装置的结构以及程序,存在提高成本的问题。
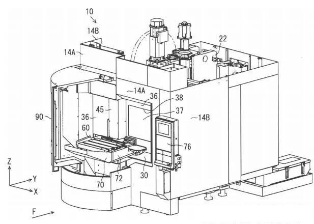
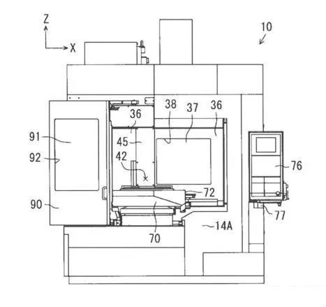
双工作台立式加工中心设计
有装载托盘的加工用工作台以及具备安装工具的主轴的主轴头,加工用工作台和主轴头设置成能够在作为机械设备的左右方向的X轴方向、作为机械设备的前后方向的Y轴方向、作为机械设备的上下方向的Z轴方向分别相对移动,并且以防溅板覆盖加工区,
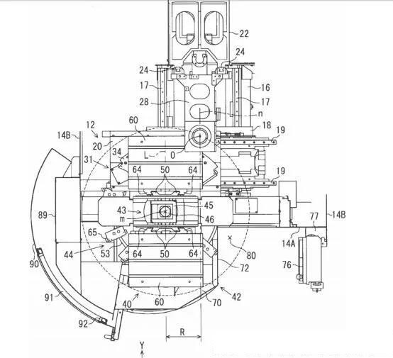
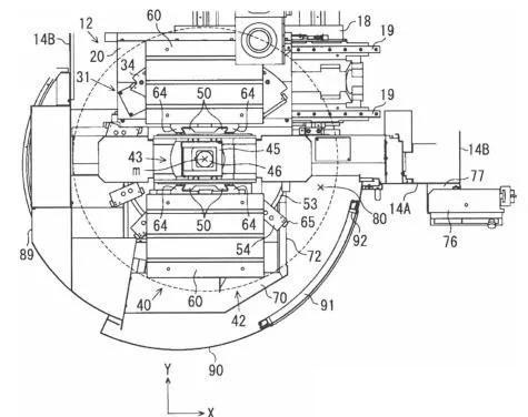
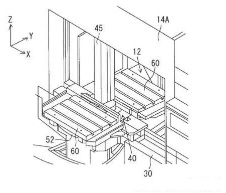
其中,加工用工作台设置成在X轴方向自由移动,主轴头设置成在Z轴方向自由移动,具有交换载置于加工用工作台上的托盘和载置于准备区的托盘的旋转型托盘交换装置以及托盘旋转的托盘旋转可动区域,载置于托盘交换装置的准备区的托盘的下方具有承载至少机械设备前面的 防溅板外侧的托盘旋转可动区域的油盘,开关自由地设有分开加工区和准备区的可开关的分隔门,
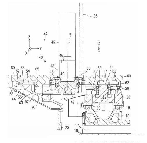
并且,设有用来对打开或关闭准备区进行开关的开合盖,油盘的端部设有切口部,将与切口部相对的空间作为切口区域,从主轴头所具有的主轴轴心向X轴方向偏移配置托盘交换装置的旋转中心,切口部设在油盘的靠近通过主轴轴心且与Y轴平行的直线侧的端部。
根据该结构,无需扩大机械设备的宽度,能够在机械设备的前面确保包括切口区域在内的操作者区域,能够进行对安装在主轴的工具进行操作等作业。根据该结构,从主轴轴心向X轴方向偏移配置托盘交换装置的旋转中心,从而可以缩短切口区域与主轴之间的距离,能够简单地进行对安装在主轴的工具的操作等。
将从主轴头所具有的主轴轴心起到托盘交换装置的旋转中心的X轴方向的偏移量至多设为托盘的宽度的一半。 无需扩大机械设备的宽度,将托盘交换装置配置在机械设备前面,能够将切口区域作为操作者区域的一部分。分隔门的至少切口区域侧设有可观察加工区的窗口。在自动运行中,操作者能够通过窗口观察加工区。
|
|
|











