|
基于数控机床的插铣加工方法铸件机箱及框架类零件内腔均存在元器件安装定位的垂直面,由于该垂直面为安装定位面,其尺寸精度和形位公差精度要求往往很高。常规加工方法是利用普通插床插铣或者电火花加工,此类加工方法虽能达到产品要求,但存在制造周期长、工人劳动强度大且受工种限制等因素,导致产品交付困难,无法满足分厂快速发展及客户的需求。为有效解决此类铸件机箱产品的生产瓶颈问题,一种基于数控机床的插铣加工方法应运而生。该方法基于数控机床的垂直运动,设计制造一种插铣刀具,达到比普通插床加工精度更高的技术要求。本文选取三类典型铸造零件进行深入的工艺分析,通过对各类加工方法的提炼总结,提出一种基于数控机床的插铣加工方法,解决机箱产品垂直面的加工难题,并得到产品验证。 1.垂直面常规加工方法 (1)安装座。安装座有三处垂直面,如图1所示,垂直面高96mm,对底面垂直度为0.03mm,表面粗糙度值Ra= 1.6μm。 安装座的三处垂直面主要有两类加工方法:①数铣→电火花→钳工。②数铣→普通插床→钳工。 两种加工方法的主要缺点:一是加工制造周期长;二是产品质量不高。两种方法加工时间如表1所示。
方法1采用电火花加工,不仅加工时间长,而且表面质量差。方法2采用普通插床加工,由于垂直度要求很高,不能采用活动刀头,只能用固定刀头装夹刀具,导致刀具在零件表面往复摩擦,刀具使用寿命大大缩短,同时产品加工表面质量较差。 此外,两种方法皆需要依靠钳工对垂直面进行打磨抛光,导致工人劳动强度大,生产效率低,无法满足大批量稳定化生产的需要。 (2)机箱。机箱内腔有4处圆凸台面,如图2所示,4处圆凸台面要求共面,对机箱底面的垂直度为0.02mm,表面粗糙度值Ra=1.6μm。 主要加工方法:数铣→普通插床→钳工。 缺点:加工制造周期长。数铣加工时间120min,电火花120min,钳工打磨180min,加工时间共计420min。
机箱内腔4处凸台面高出机箱内壁仅1mm,靠近机箱底面的两处圆凸台距机箱上表面170mm,超过加工中心机床行程,故无法用铣刀加工。采用普通插床加工,由于此零件精度要求高,无法用活动刀头加工,只有通过插削加工,留少量余量,再由钳工研磨的方法加工,这样工人劳动强度大,生产效率低,不能满足高效生产需要。 (3)内框架。内框架垂直面如图3所示。内腔垂直面对上表面的垂直度为0.02mm,相对距离为180mm,高度为130mm,表面粗糙度值Ra=0.8μm。 主要加工方法:数铣→普通插床→钳工。 缺点:加工制造周期长。数铣加工时间240min,普通插床120min,钳工打磨210min,加工时间共计570min。 内框架刚度差,技术要求高,如果采用慢走丝线切割加工,可以一次保证质量要求。但一方面铸件中存在少量的杂质或夹渣,该类物质不导电,从而导致线切割加工过程中,钼丝漂移,错误切割到非加工的导电部位,导致零件报废。另一方面慢走丝线切割加工成本高,效率低,不能适应快速、高效的生产需要。
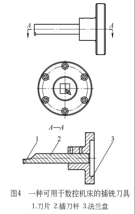
采用普通插床加工面,由于产品精度高,插削刀具在零件表面往复摩擦导致刀具磨损大,无法保证垂直度和表面粗糙度质量要求,必须留少量余量,由钳工研磨,保证产品的各项技术要求。 综合上述三类典型铸件零件垂直面加工分析可知:常规的加工方法虽然能保证产品质量,但是制造周期长,加工效率低,生产成本高,工人劳动强度大,无法满足批量化、稳定化且高效快速化的生产需要。 2.解决方案 为解决上述三类零件生产中遇到的相同瓶颈问题,借鉴普通插床的加工原理,结合分厂机床设备特点,提出一种基于数控机床的插铣加工方法。该方法是对已丧失部分功能的VA-35数控机床进行工艺改进,变废为宝,改进后的数控机床可作为数控插床使用,能有效解决上述各类零件的加工难题。 (1)VA-35数控机床改造。由于VA-35数控机床老旧,且定位精度降低,目前只能用于零件精度要求低的粗加工。虽然机床做旋转运动的精度降低,但是机床主轴做上下往返运动的精度是完好的。考虑到上述提到的三类零件主要为垂直面加工,结合普通插床的加工原理,若能将数控机床进行改造,只利用其主轴做普通插床的上下往返运动,即可实现普通插床的功能。不仅如此,数控机床较普通插床还具有其他优点: 行程大。VA-35垂直方向行程达450mm,比普通插床行程大250mm。 可实现程序控制,更便于操作,减少人为操作找尺寸带来的不便和误差大的缺点。 可实现单向进给运动。刀具下降至最低点后可利用数控编程,进行退刀,不损伤已加工面的表面质量。 润滑冷却更加充分。 基于上述优点,设计制造一种可用于数控机床的插铣刀具,如图4所示,法兰盘3联接在机床主轴箱端盖上,插刀杆2固定安装在法兰盘3中,配合间隙为0.05mm,插刀杆的前端安装VBGT11 03 04LF刀片1,该刀具的使用可将数控机床改造为数控插床。此类改造未使用机床主轴,对主轴精度无影响。由于留给插削加工余量较小(不大于0.2mm),并且插削铝材切削力小,切削过程无冲击,主轴在下降过程中主轴箱质量远远大于切削力,所以对机床丝杠精度和导轨精度无影响。
(2)机床对比。普通插床的加工原理如图5所示。普通插床在刀具下降至最低点时不能作退刀运动,只能沿已加工面垂直升起,这样刀具通过已加工面时,会不停的摩擦,导致拉伤已加工面,影响加工面表面粗糙度质量。普通插床靠工人手动进给、手动润滑、手动找坐标尺寸,带来人为操作的不确定性,手动操作误差较数控控制大,工人劳动强度高,且生产效率较低。
数控机床经过改造成为数控插床后的加工原理如图6所示。刀具在程序控制下做上下运动,下刀切削时刀具接触加工表面,下降至最低点后,利用程序控制刀具作退刀运动,刀具抬起离开加工表面,回到加工原点。刀片采用VBGT11 03 04LF硬质合金刀片,锋利耐磨,易于更换,能获得较高的表面粗糙度质量。刀具运动靠数控程序控制,零件加工的尺寸精度得到有效控制。此外,通过退刀编程处理可有效控制刀具运动,避免像普通插床插刀的往复运动时对已加工面的拉伤,保证加工面的表面质量。
(3)效果验证。采用数控插床加工后,各类零件的生产效率大大提升,产品质量也得到巨大提高。改善后的安装座、机箱及内框架的主要加工流程为:数铣→数控插铣→钳工,其加工制造时间如表2所示。
3.结语 基于数控机床的插铣加工方法不仅能成倍提高生产效率,缩短零件制造周期,还大大提高了产品质量。与此同时,基于数控机床的插铣加工大大降低了工人劳动强度,为分厂节约大量成本,对分厂降本增效、推行AOS生产运营管理及内部市场化等方面都起到巨大作用,创造巨大经济效益。改善的产品加工方法已纳入工艺文件中,进行固化,保障了产品生产的稳定性。 另外,该数控插铣方法已进行广泛推广应用,如电器盒、外框架等产品。基于数控机床的插铣加工方法得到领导及同事的一致肯定,同时也得到了客户的一致好评,该加工方法取得成功。 上一篇伺服系统该如何征战数控机床?下一篇数控车床普及的时代 |
|
|







